Laboratory

釣りの研究室
HOME | Lab | ABU | 自動二段変速ギヤの発明

自動二段変速ギヤの発明

初版 2011.3.27

Ambassadeur 8000が登場したのは1965年のことです。このモデルには、当時としては画期的だった自動二段変速ギヤシステムが搭載されており、スタードラグはハンドルの外側に配置されていました。
 
この機構に関する特許は、1961年に出願されています。発売時期との関係から見ても、この特許はAmbassadeur 8000の開発段階での技術的発明であることは想像に難くありません。
 
その後、この8000をベースに派生する形で、1969年にはAmbassadeur 9000が発売されました。9000では、スタードラグの位置がハンドルの内側へと変更されましたが、それ以外の基本構成は、現在の9000シリーズにも連綿と受け継がれています。
 

自動二段変速の名残をとどめるBG9000の形状

この膨らみは、プレス金型を8000系と共通で使用していることによるもので、内部機構が異なる現行機種においても外形的に引き継がれています。そのため、遠目からでも識別できる、9000シリーズ特有のシルエットの一部となっています。
 
技術の進化とともに変化していった構造の中にも、こうした設計思想の痕跡が残っている点に、長年ABUリールを愛用する者としての深い味わいを感じます。


 
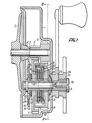
UNITED STATES PATENT OFFICE 3,167,272 Jan. 26 1965
AUTOMATICALLY VARIABLE DRIVE GEARING FOR A FISHING REEL
Inventor: Per Enar Lennart Frode
Assignee: AB Urfabriken, Svangsta, Sweden, a Swedish corporation
Field: Sept. 11 1961
 

 

What is claimed is :
1.An automatically variable transmission drive suitable for a fishing reel comprising a driving shaft, and a driven shaft, two driving gears of different diameters rotatably mounted on the driving shaft, two driven pinions secured on the driven shaft meshing each with one of said driving gears and having corresponding different diameters, a friction coupling having a driving part in positive driving connection with the driving shaft and a driving part having a one-way driving connection with the smaller driving gear in the same sense of rotation of the driving shaft and of the driving part of the friction coupling during the winding of line on a spool, a friction member secured to the driving shaft and in frictional engagement with the larger driving gear, the maximum sliding torque of said friction member being of a lower order than said friction coupling.


 
関連記事