Laboratory

釣りの研究室
HOME | Lab | ABU | 遠心ブレーキの発明

遠心ブレーキの発明

初版 2011.2.27

Ambassadeurリールには、1950年代からすでに遠心ブレーキが搭載されていましたが、現在のような構成に整ったのは、1975年に登録された特許に基づくものと見られます。

Ambassadeur 7000に採用された遠心ブレーキのメカニズムについては、当サイトの「ブレーキの仕組み」で詳しく紹介していますので、ぜひ下に引用した特許図とあわせてご覧ください。
 
この特許の出願日は1972年6月28日。そして、同年に発売された機種こそがAmbassadeur 7000です。このタイミングから判断しても、本特許に基づく遠心ブレーキが7000のために設計されたものであることは、まず間違いないと考えられます。
 

特許図面に見る構造の違い

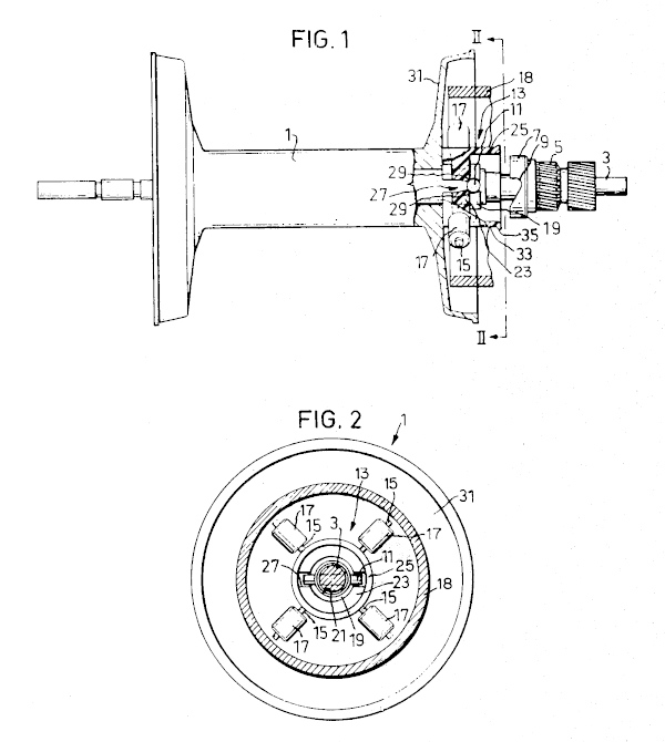
この特許に示されている構造は、それ以前の古いAmbassadeurのリール分解図とは明確に異なっています。たとえば、図中の「25」で示されたOuter Cylinder(当サイト「ブレーキの仕組み」では「ブレーキブロックハブ」と呼んでいます)が、旧型モデルの図には見られません。
 
このページでは特許本文までは引用していませんが、実際の明細書には、大型ブレーキで十分な制動力を確保するためには、ブレーキウエイトとブレーキドラムの間の摩擦を安定して維持する必要があること、そしてそのためにはOuter Cylinderの構造を導入することで、ギヤなどから回り込むオイルを防ぎ、摩擦力を損なわないようにするという効果が明記されています。
 

「周辺特許」という技術的位置づけ

この特許は、遠心ブレーキの基本原理そのものに関するものではなく、既存の技術をもとに改善を加えた改良型の特許です。こうした改良特許は、特許用語で「周辺特許」と呼ばれ、基本的な仕組みに関する「基本特許」とは区別されています。
 
リール開発の現場では、このような周辺特許を積み重ねていくことで、耐久性や精度、操作性などの細かな改善がなされ、結果として今日の完成度の高い製品に至っているのです。


 
UNITED STATES PATENT OFFICE 3,901,457 Aug. 26 1975
ARRANGEMENT IN CENTRIFUGAL BRAKES FOR FISHING REELS
Inventor: Karl Ture Ingvar Turesson
Assignee: ABU Aktiebolag, Svangsta, Sweden
Field: June 28 1972
 

 

What is claimed is :
1.An arrangement mounting centrifugal brake weights for a fishing reel comprising a line spool having a co-rotating spindle, a dog pin mounted transversely in said spindle for driving said spindle, drive means to drivingly engage said dog pin, a coaxial inner cylinder mounted about said spindle, a slot formed in said cylinder to engage said dog pin to rotate said cylinder therewith, said dog pin extending beyond said cylinder, an enlarged coaxial outer cylinder, a spider connecting said cylinders at a portion thereof displaced axially from said dog pin to permit engagement of said dog pin by said drive means, a plurality of substantially radially extending staffs extending from said outer cylinder, and brake weights slidably mounted on said staffs to move outwardly under centrifugal force when said spindle and said outer cylinder rotate.


 
関連記事ブレーキの仕組み